
Image generated on AI
Apple is once again running circles around the frontier of wearable technology with a patent that hints at an innovative ecosystem of smart rings. The tech giant has already served up numerous design concepts for this category—and now, the latest envisions tech that’s not only for the fingers but for the wrists, ankles, neck, arms, legs, “and/or other body part[s]” too.
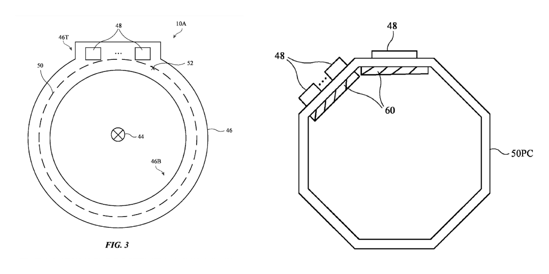
As picked up by AppleInsider, this new patent published by the US Patent & Trademark Office (USPTO) on Tuesday, titled Electronic system with ring device, suggests “ring-shaped” devices that could expand beyond being just finger adornments. The technology could also be applied to smart bracelets, necklaces, and lanyards. Apple’s focus on the ring shape is strategic, ensuring these devices are comfortable and convenient to wear throughout the day.

Images via Apple / USPTO
These smart rings are designed to interact seamlessly with a range of companion devices. Imagine gesturing with your hand to control different gadgets or pointing at an object to gather information. The wearables could respond to hand gestures, body positions, and even provide haptic feedback.
For instance, if you’re walking through a building and spot an item with an NFC tag, the ring could immediately pull up relevant information, like a web page, on a connected display. The possibilities extend to virtual or mixed-reality environments, where the ring serves as a sophisticated controller.
Security is another key feature. The smart ring or necklace could function as an authentication device, granting or denying access to locked areas. This implies advanced security measures embedded within the ring to protect user data.
Health monitoring may also be on the agenda, as Apple does mention that the wearable may collect health information of its owner. That suggests health sensors could be integrated into the device, potentially tracking metrics like heart rate, blood oxygen saturation, and blood pressure. A related patent for an Apple smart ring from 2021, Wearable Self-Mixing Interferometry Device Used To Sense Physiological Conditions, further emphasizes this health focus, suggesting comprehensive health tracking capabilities.
Although the new patent is broad, covering a wide range of potential uses, it’s the latest of a steady stream of papers that the company has submitted outlining the invention of smart ring devices, indicating a serious and ongoing interest in the realm of wearable technology. From enhancing user interaction to offering new health monitoring solutions, this all-encompassing vision for smart rings has the potential to once again reimagine how we interact with technology in our daily routines. Not to mention, Apple diehards would jump at the chance to be covered in Apple products from head to toe!
[via AppleInsider and OPP.Today, images via various sources]


Recent Comments